今年3月にも廉価版iPhoneの最新モデル「iPhone SE 2」を発表するのではないか、ともうわさされているApple。そんな中、米国特許商標庁に新たなデバイスに関する特許を申請していたことが明らかになった。

Appleのデバイスも折りたたみ可能に!?

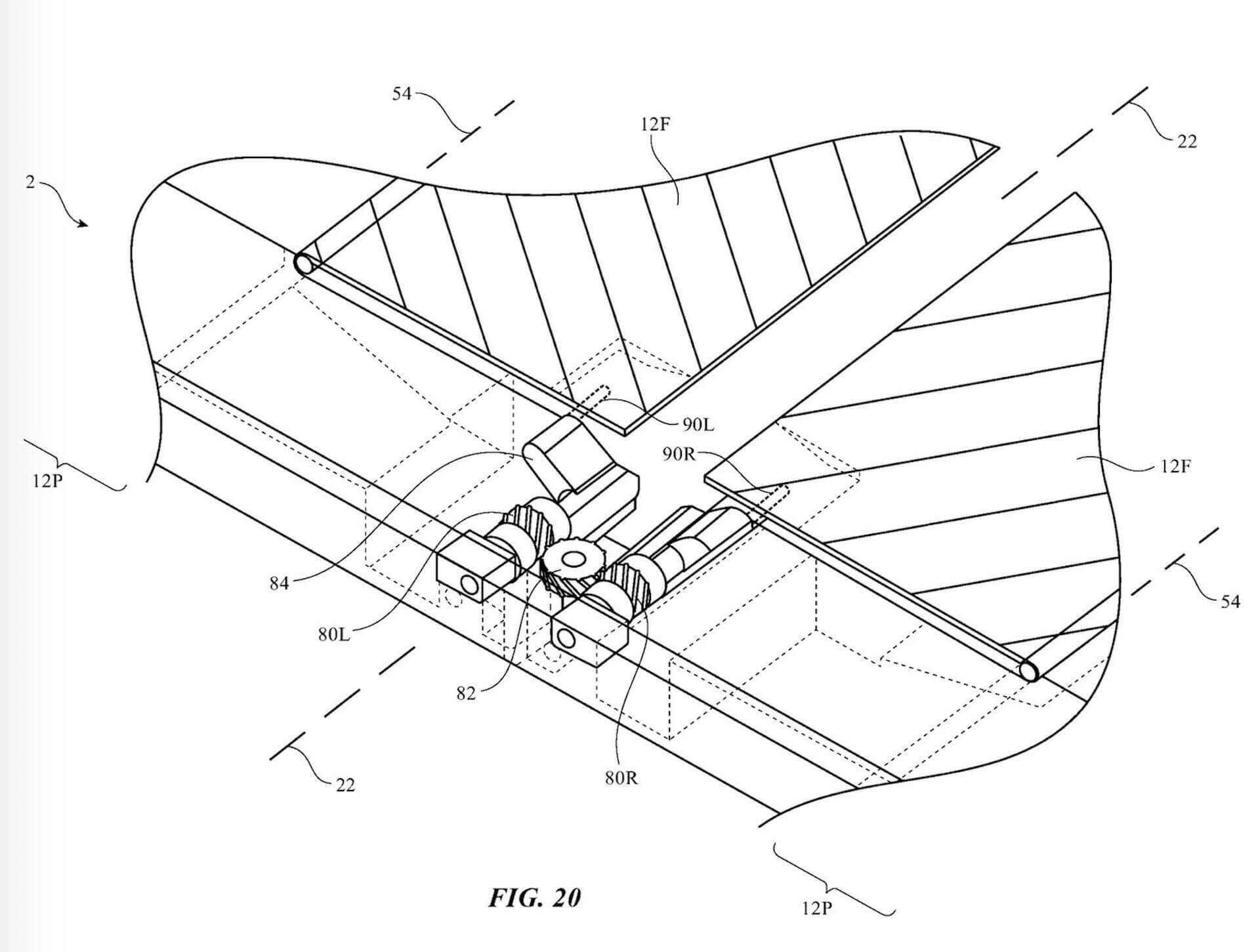
今回Appleが米国特許商標庁に申請した特許は、折りたためるデバイスに利用するヒンジの新技術に関するものだ。この新たな技術が実現すると、デバイスを折りたたむ際に生じるディスプレイのシワやダメージを防ぐことができるようになるようだ。
Appleからも折りたたみスマホが登場!?新たな特許申請が明らかに
Photo via USPTOこのヒンジは2枚のディスプレイの間に十分な隙間を設けることができる仕組みになっており、デバイスが開いている際は駆動可能なフラップが隙間を埋めるためにしっかりと開き、デバイスを閉じる際は開いていたヒンジが格納されるようになるという。Samsungが発表したGalaxy FoldHuaweiMate Xなど、すでに発売されている折りたたみスマホは、デバイスを閉じる際に上記のようなシワや傷がディスプレイに生じることが多く指摘されており、Appleはそれを踏まえた上で今回の特許申請に踏み切ったようだ。今回の特許以外にも折りたたみデバイスに関する特許を多く申請しているApple。折りたたみスマホがAppleから発売される日もそう遠くないかも? 続報に期待しよう!

Galaxy Fold: Official Introduction

Appleからも折りたたみスマホが登場!?新たな特許申請が明らかに
Photo by Mika Baumeister on Unsplash

Copyright (C) Qetic Inc. All rights reserved.

編集部おすすめ