折りたたみiPhoneは折りたたんだまま通知を目視できる?
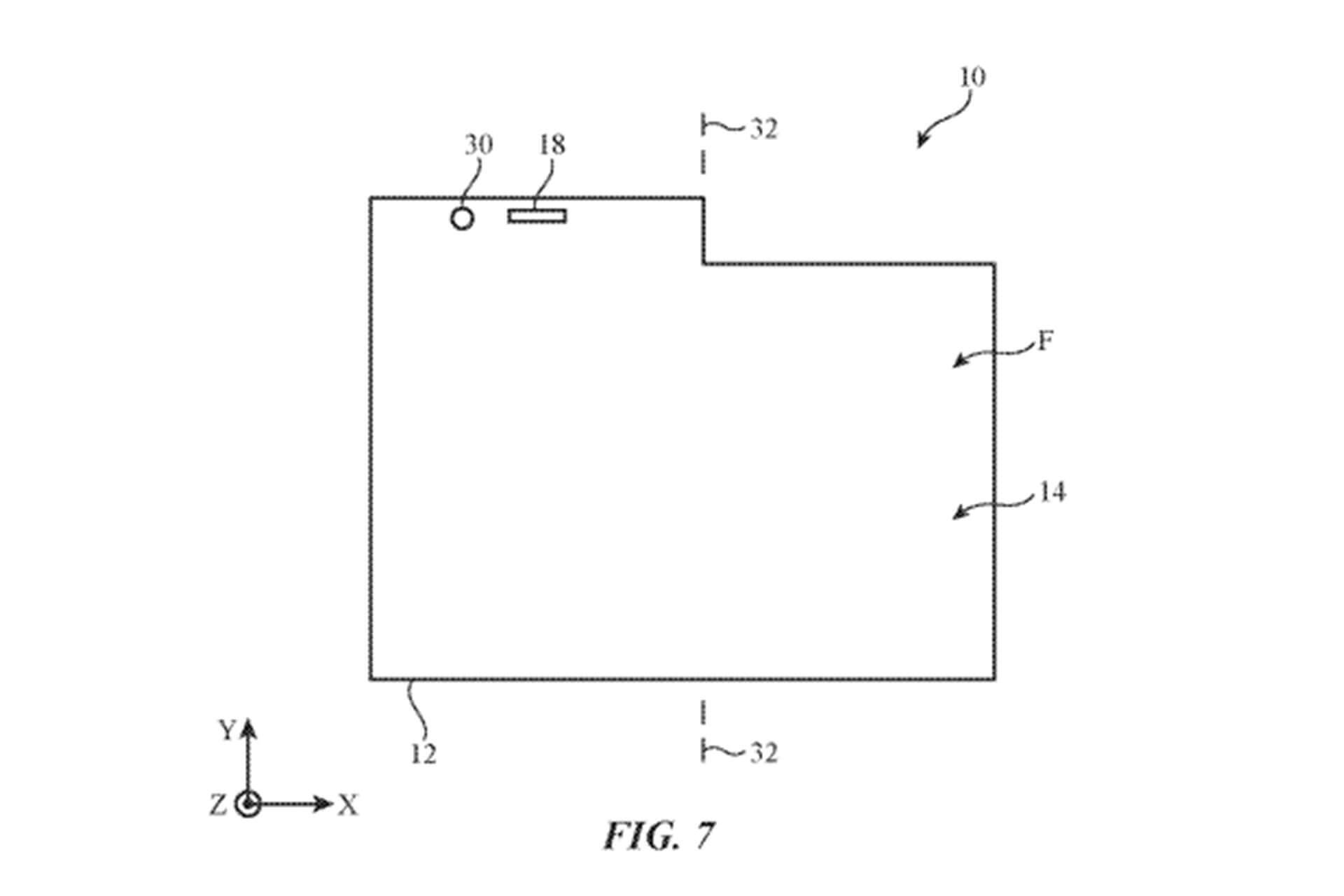
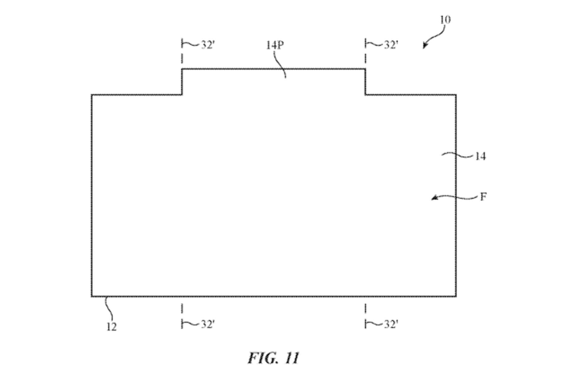
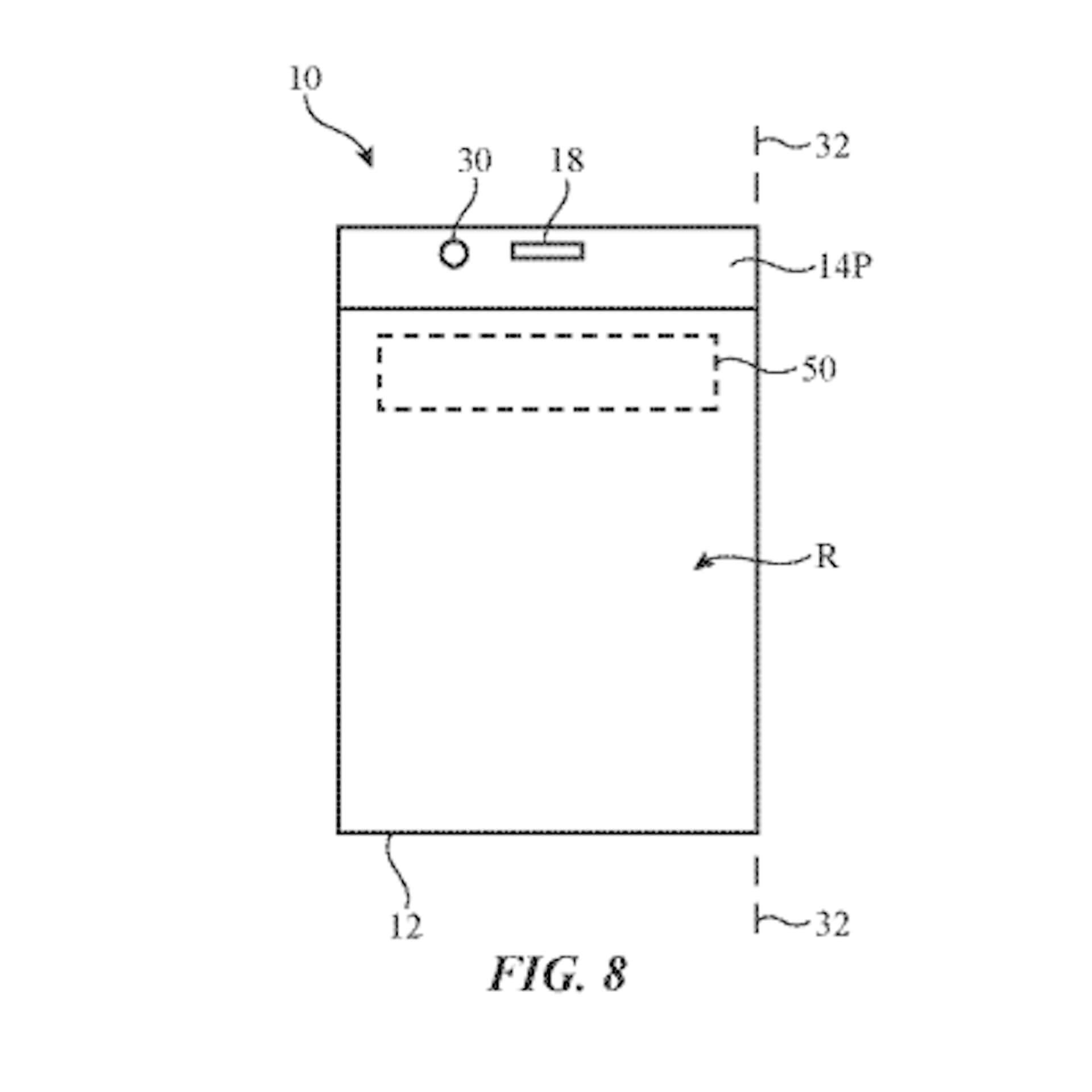
Appleが米国特許商標庁に提出した特許が現地時間7日(火)に公開され、その特許内に折りたたみデバイスに関する情報が記されていたことが話題となっている。その情報によると、折りたたみデバイスを閉じた状態でも通知を目視できるよう、デバイス外側にディスプレイの一部分が剥き出しになるようなデザイン案が上がっている様子。つまりわざわざ閉じたデバイスを開かずとも、何の通知かを確認することができるということだ。この外側のディスプレイは内側に使用するディスプレイの余白部分を利用することを念頭に置いているようで、本のように横開きするディスプレイを使用した場合のデバイスはどちらか一方のディスプレイ上部の余白部分を外側へ出すことで通知が見られるディスプレイを配置できるようになるようだ。またそれとは別に、特許内には三面鏡のように開くタイプのデバイスも記されており、このタイプの場合も同様に中央のディスプレイの余白部分を外側に出すことで、通知用のディスプレイを配置することが検討されている様子。
Copyright (C) Qetic Inc. All rights reserved.
![LDK (エル・ディー・ケー) 2024年10月号 [雑誌]](https://m.media-amazon.com/images/I/61-wQA+eveL._SL500_.jpg)
![Casa BRUTUS(カーサ ブルータス) 2024年 10月号[日本のBESTデザインホテル100]](https://m.media-amazon.com/images/I/31FtYkIUPEL._SL500_.jpg)
![LDK (エル・ディー・ケー) 2024年9月号 [雑誌]](https://m.media-amazon.com/images/I/51W6QgeZ2hL._SL500_.jpg)




![シービージャパン(CB JAPAN) ステンレスマグ [真空断熱 2層構造 460ml] + インナーカップ [食洗機対応 380ml] セット モカ ゴーマグカップセットM コンビニ コーヒーカップ CAFE GOMUG](https://m.media-amazon.com/images/I/31sVcj+-HCL._SL500_.jpg)



